Simpson Strong-Tie krokvový konektor SPF170R
Kód výrobce
5701953359638
Kód produktu
SPF170R
Spoje SPF krokve-vaznice jsou určeny pro křížové spojování dřevěných prvků.
Účelem spojů krokví a vaznic v této souvislosti je chránit střechu před profouknutím větrem.
- Vlastnosti produktu:
- materiál: ocel S250GD
- antikorozní ochrana: pozink
- jednoduchá montáž
- optimální uspořádání otvorů omezuje delaminaci dřeva
- pevné a odolné spoje
- staticky vypočítané
- substrát: masivní dřevo, kompozitní dřevo, lepené vrstvené dřevo
- aplikace:
- V závislosti na zatížení se používají 2 nebo 4 konektory
- v případě připojení pomocí 2 konektorů použijte 2 levé nebo 2 pravé konektory, protože jsou umístěny diagonálně proti sobě, aby bylo zajištěno centrální rozložení zátěže
- Při připojování krokví ke stěně může být nutné použít spojky dvou různých délek - kratší namontovaný na vnější straně stěny a delší na vnitřní straně
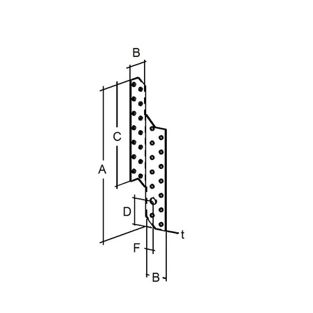
Technické údaje:
- rozměr A: 170 mm
- rozměr B: 32,5 mm
- rozměr C: 100 mm
- rozměr D: 37,5 mm
- rozměr F: 14 mm
- rozměr t: 2 mm
Značka
Kód produktu
SPF170R
Kód výrobce
5701953359638
Parametry bezpieczeństwa
Parametry bezpieczeństwa
Dotaz na výrobek
Napište svoji recenzi




